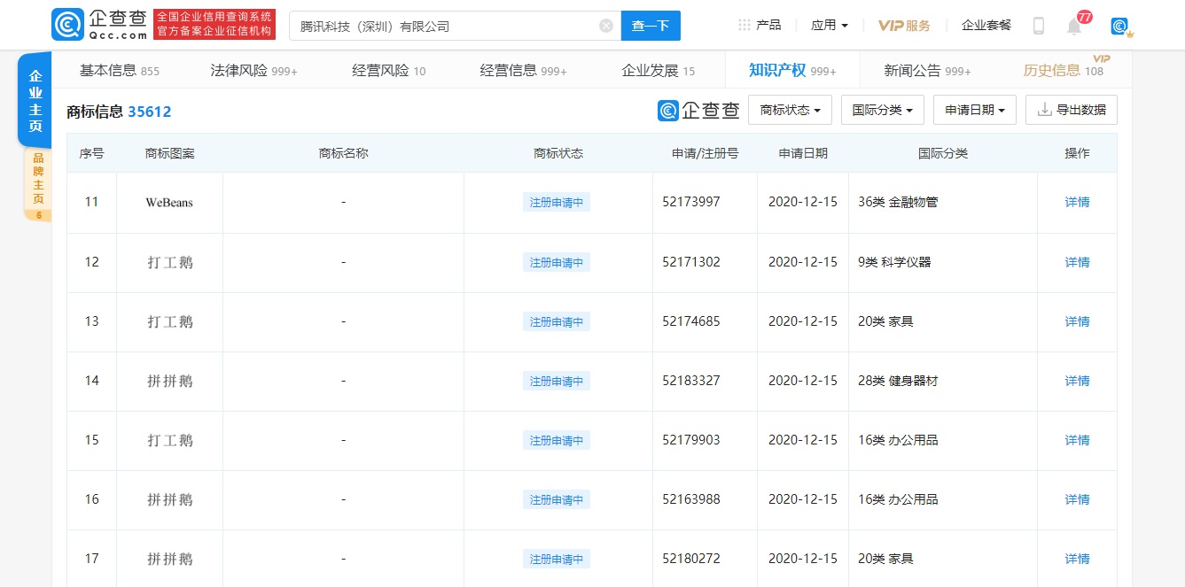
12月21日消息 企查查 App 显示,腾讯科技(深圳)有限公司于近日新增 “打工鹅”、“拼拼鹅”等商标信息,商标涉及的国际分类包含家具、办公用品、广告销售、科学仪器等,目前商标状态为 “注册申请中”。
![图片[1]-打工人”梗继续,腾讯申请 “打工鹅”商标-玩转网](https://www.902d.com/wp-content/uploads/2020/12/cf26023a8547.jpg)
打工人”是职场人的自称,是一种黑色幽默,也是成年人在职场竞争和生活重担双重压力下的强烈共鸣。放在腾讯 “企鹅”的基础上,自然就变成了 “打工鹅”。
今年 “打工人”成为了继社畜、打工仔之后,展示当代年轻人在社会拼搏、努力工作的新词汇。“打工人打工魂打工都是人上人”更是成为当代年轻人的口头禅。
“拼拼鹅”一词来源未知,不过今年早些时候腾讯上线了一款名为 “小鹅拼拼”的微信小程序以及公众号,是一个拼购电商平台,具体的购物模式参考拼多多,其 Slogan 为:“没有什么事情比买到好东西更快乐!”
![图片[2]-打工人”梗继续,腾讯申请 “打工鹅”商标-玩转网](https://www.902d.com/wp-content/uploads/2020/12/eeede7fd0575.jpg)
![图片[3]-打工人”梗继续,腾讯申请 “打工鹅”商标-玩转网](https://www.902d.com/wp-content/uploads/2020/12/5c19843982f6.jpg)
当然,鉴于腾讯经常会为了防止商标侵权预注册一些热门词汇商标,此次 “打工鹅”预计也是如此。但也不排除推出某款新产品或其他内容输出的可能。
© 版权声明
网站名称:玩转网
本文链接:
版权声明:知识共享署名-相同方式共享 4.0 国际 (CC BY-NC-SA 4.0)协议进行许可
本站资源仅供个人学习交流,转载时请以超链接形式标明文章原始出处,(如有侵权联系删除)
本站代码模板仅供学习交流使用请勿商业运营,严禁从事违法,侵权等任何非法活动,否则后果自负!
THE END











