科技媒体 patentlyapple 今天(3 月 5 日)发布博文,根据美国商标和专利局(USPTO)公示的清单,苹果获得了一项 Apple Pencil 手写笔专利。
该专利重点在于检测输入设备时减少干扰,从而提升输入精准度,还展示了 Apple Pencil 在可折叠显示屏上的应用潜力。
根据专利描述,新一代 Apple Pencil 将采用噪声抑制技术,减少因噪声导致的输入误差。例如,设备可以识别并修正与用户实际操作不符的异常“点”。
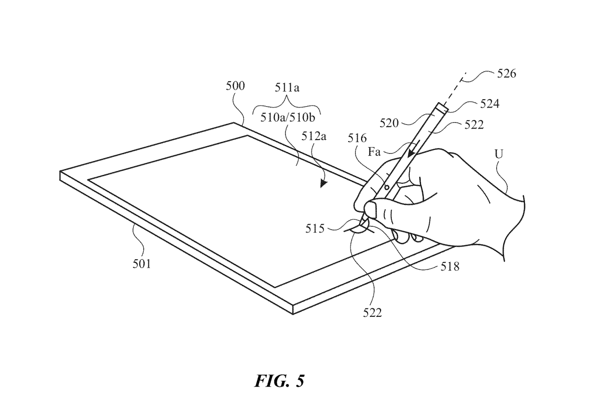
专利图 5 展示了一个示例系统,包括一支触控笔(#520)和一台电子设备(#500,如 iPad)。触控笔可以是智能笔、智能刷、手写笔等多种形式,用户通过调整触控笔的位置和方向向设备传递信息。触控屏表面可以是多触点显示屏,也可以是非显示触控表面,甚至是可折叠或柔性显示屏。相关图片如下:![图片[1]-苹果 Apple Pencil 新专利:告别干扰,让书写更精准、更流畅-玩转网](https://www.902d.com/wp-content/uploads/2021/03/98e4b701d320250822121215.png)
![图片[2]-苹果 Apple Pencil 新专利:告别干扰,让书写更精准、更流畅-玩转网](https://www.902d.com/wp-content/uploads/2021/03/af69bafd0e20250822121247.png)
© 版权声明
网站名称:玩转网
本文链接:
版权声明:知识共享署名-相同方式共享 4.0 国际 (CC BY-NC-SA 4.0)协议进行许可
本站资源仅供个人学习交流,转载时请以超链接形式标明文章原始出处,(如有侵权联系删除)
本站代码模板仅供学习交流使用请勿商业运营,严禁从事违法,侵权等任何非法活动,否则后果自负!
THE END












